Página 1 de 1
Hansen FN Circuito legible y valores de materiables
Publicado: Dom Mar 22, 2015 1:26 pm
por albertoaas

- cir HansenFN.jpg (126.9 KiB) Visto 12039 veces
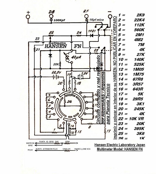
Hola!, Adjunto en calidad de aporte el circuito del "MULTIMETRO HANSEN modelo: FN" re dibujado legible y chequeado sus valores de componentes incluidas las puntas especiales, ideal para imprimir e incorporar al interior de su este instrumento famoso en su época y de uso actual, (para quien tenga el gusto aun desposeerlo y o tenga que reparar) que lo disfruten y suerte... AlbertoAAS
Re: Hansen FN Circuito legible y valores de materiables
Publicado: Dom Mar 22, 2015 1:42 pm
por Fernando Giachero
Muchas gracias por el aporte !!!
Re: "HANSEN FN"Circuito legible y valores de materiables
Publicado: Dom Mar 22, 2015 1:57 pm
por albertoaas
Hola! Fernando, jaja no sabes lo que me costo subirlo, creo que ahora lo logre...
Re: Hansen FN Circuito legible y valores de materiables
Publicado: Dom Mar 22, 2015 2:01 pm
por Fernando Giachero
Muchísimas gracias Alberto por la dedicatoria a Planetatecnico.
Será un documento extremadamente útil!!!
Re: Hansen FN Circuito legible y valores de materiables
Publicado: Lun Jun 19, 2017 12:11 pm
por turkostv
2Muchas gracias por el aporte, me fue de2 mucha utilidad ya que estoy reconstruyendo uno.
En el circuito se ven 4 diodos, 2 de ellos conectados en serie. Imagino que son de selenio, ya que su construcción es bastante "rara". Alguien tiene algún dato sobre eso? Debo reemplazarlo ya que está sulfatado.
Saludos y gracias de nuevo.
Re: Hansen FN Circuito legible y valores de materiables
Publicado: Mar Jun 20, 2017 6:34 pm
por albertoaas
HOLA! SI ASI ES EFECTIVAMENTE EL DOBLE DIODO ES DE SELENIO .-PARA MANTENER LA PRESICION Y LINEALIDAD ES NESESARIO.-
PUEDE REEMPLAZARSE POR 2 SILICIO.-
Re: Hansen FN Circuito legible y valores de materiables
Publicado: Mié Jun 21, 2017 2:25 pm
por turkostv
Gracias por la respuesta. Fue efectivamente lo que hice, reemplazarlos por 1N4002. Funciona, pero tengo errores de lectura, con 15 VDC me indica 30, creo que algo más debe estar fuera de valor.
Re: Hansen FN Circuito legible y valores de materiables
Publicado: Dom Jul 23, 2017 11:42 am
por josewan
Un buen día, compré un multimetro Hansen FN para repararlo, pero están faltando los dos diodos y no sé dónde colocalos, pues el circuito fue modificado para funcionar sin los diodos. Sólo que no funciona en AC. Por favor, alguno puede enviar una foto interna del multimetro para que pueda ver dónde se van a conectar los componentes. Gracias.
Re: Hansen FN Circuito legible y valores de materiables
Publicado: Mar Nov 14, 2017 11:46 am
por albertoaas
HOLA ! JOSE WAN ME ALEGRO DE TU TAREA PODES REEMPLAZAR LOS DIODOS DE SELENIO POR DOS DOS "1N4148" Y POR SER PEQUEÑOS SE UBICAN BIEN EN EL LUGAR DEL ORIGINAL ..-SUERTE
Re: Hansen FN Circuito legible y valores de materiables
Publicado: Sab Mar 31, 2018 10:58 pm
por henrypal
Creo que en estos tester los rectificadores son "Copper Oxide Rectifier", al cambiarlos por silicio por tener diferente caida de tensión tenemos descalibrado el instrumento....
Re: Hansen FN Circuito legible y valores de materiables
Publicado: Sab Mar 31, 2018 10:59 pm
por henrypal
El que esta en la cadena de RF es uno de "Germanio".